智慧矿山双重预防信息化平台
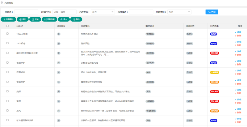
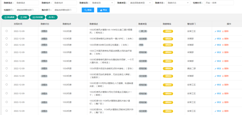
煤矿双重预防机制是指建立风险管控和隐患排查治理双重预防机制。预警机制则是指能灵敏、准确地告示危险前兆,并能及时提供警示,使机构能采取有关措施的一种制度,其作用在于超前反馈、及时布置、防风险于未然,限度地降低由于事故发生对生命造成的侵害、对财产造成的损失。
通过双重预防的工作机制,切实把每一类风险都控制在可接受范围内,把每一个隐患都治理在形成之初,把每一起事故都消灭在萌芽状态。由于双重预防体系建设的性、复杂性、系统性,般生产经营单位会委托第三方安全技术服务机构辅助完成,目前国家及地方要求企业不仅要建设双重预防体系,而且要通过息化平台密现双重预防体系的动态运行。因此,称“线上+线下”双重”双重预防体系建设。






